|
|
|
Гидравлические гильотинные ножницы | Описание |
|
ХАРАКТЕРИСТИКИ |
Изм. |
КОД МОДЕЛИ |
|
EHGM - 4x2500 |
EHGM - 6x2500 |
EHGM - 6x3100 |
EHGM - 8x4100 |
EHGM - 10x3100 |
EHGM - 10x4100 |
EHGM - 12x3100 |
EHGM - 12x4100 |
|
Толщина материала |
мм |
4 |
6 |
6 |
8 |
10 |
10 |
12 |
12 |
|
Длина реза |
мм |
2550 |
2550 |
3100 |
4100 |
3100 |
4100 |
3100 |
4100 |
|
Количество резов в минуту |
шт. |
14 |
15 |
14 |
14 |
14 |
14 |
14 |
14 |
|
Угол реза |
град. |
1.5 º |
1.5 º |
1.5 º |
1.5 º |
2 º |
1.5 º |
2 º |
1.5 º |
|
Количество цилиндров прижима |
шт. |
11 |
11 |
13 |
18 |
14 |
18 |
14 |
18 |
|
Обьем масленного бака |
л |
200 |
200 |
200 |
250 |
250 |
250 |
250 |
250 |
|
Расстояние между отверстиями по глубине |
мм |
1050 |
1050 |
1050 |
1150 |
1150 |
1250 |
1250 |
1350 |
|
Глубина горловины |
мм |
160 |
160 |
160 |
160 |
160 |
160 |
160 |
160 |
|
Мощность двигателя |
кВт |
15 |
15 |
15 |
22 |
22 |
30 |
30 |
37 |
|
Скорость вращения двигателя |
об/мин |
1450 |
1450 |
1450 |
1450 |
1450 |
1450 |
1450 |
1450 |
|
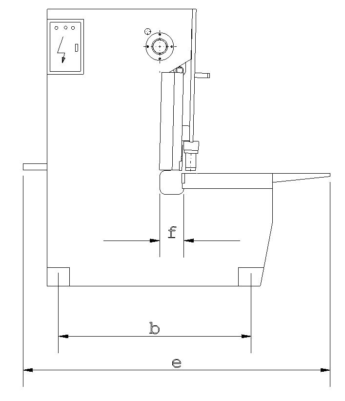
Ширина станка c |
мм |
3000 |
3060 |
3500 |
4500 |
3500 |
4500 |
3500 |
4600 |
|
Высота станка d |
мм |
2000 |
2000 |
2000 |
2200 |
2100 |
2200 |
2200 |
2300 |
|
Глубина станка e |
мм |
2550 |
2550 |
2600 |
2600 |
2600 |
2600 |
2600 |
2600 |
|
Обьем насоса |
см3/об |
23 |
23 |
23 |
40 |
40 |
50 |
50 |
50 |
|
Вес станка |
тонн |
5800 |
6300 |
6850 |
11850 |
8950 |
13400 |
10500 |
14000 |
|
Расстояние между отверстиями по ширине а |
мм |
2730 |
2730 |
3230 |
4250 |
3250 |
4270 |
3270 |
4290 |
|
|